Product Summary
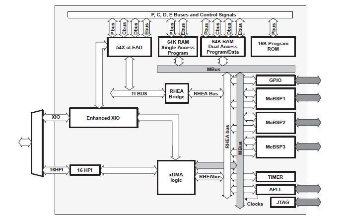
The TMS320VC5416PGE160 is a fixed-point digital signal processor. The TMS320VC5416PGE160 fixed-point, digital signal processor (DSP) (hereafter referred to as the device unless otherwise specified) is based on an advanced modified Harvard architecture that has one program memory bus and three data memory buses. This processor of the TMS320VC5416PGE160 provides an arithmetic logic unit (ALU) with a high degree of parallelism, application-specific hardware logic, on-chip memory, and additional on-chip peripherals. The basis of the operational flexibility and speed of this DSP is a highly specialized instruction set.
Parametrics
TMS320VC5416PGE160 absolute maximum ratings: (1)DVDD Supply voltage I/O range: -0.3 V to 4.0 V; (2)CVDD Supply voltage core range: -0.3 V to 2.0 V; (3)VI Input voltage range: -0.3 V to 4.5 V; (4)VO Output voltage range: -0.3 V to 4.5 V; (5)TC Operating case temperature range: -40℃ to 100℃; (6)Tstg Storage temperature range: -55℃ to 150℃.
Features
TMS320VC5416PGE160 features: (1)Arithmetic Instructions With Parallel Store and Parallel Load; (2)Conditional Store Instructions; (3)Fast Return From Interrupt; (4)CLKOUT Off Control to Disable CLKOUT; (5)144-Pin Ball Grid Array (BGA)(GGU Suffix); (6)Enhanced External Parallel Interface (XIO2); (7)Instructions With a 32-Bit Long Word Operand; (8)Instructions With Two- or Three-Operand.
Diagrams

| Image | Part No | Mfg | Description | ![]() |
Pricing (USD) |
Quantity | ||||||||||||
|---|---|---|---|---|---|---|---|---|---|---|---|---|---|---|---|---|---|---|
![]() |
![]() TMS320VC5416PGE160 |
![]() Texas Instruments |
![]() Digital Signal Processors & Controllers (DSP, DSC) Dig Sig Proc |
![]() Data Sheet |
![]()
|
|
||||||||||||
| Image | Part No | Mfg | Description | ![]() |
Pricing (USD) |
Quantity | ||||||||||||
![]() |
![]() TMS3112 |
![]() Other |
![]() |
![]() Data Sheet |
![]() Negotiable |
|
||||||||||||
![]() |
![]() TMS3121 |
![]() Other |
![]() |
![]() Data Sheet |
![]() Negotiable |
|
||||||||||||
![]() |
![]() TMS320 |
![]() Other |
![]() |
![]() Data Sheet |
![]() Negotiable |
|
||||||||||||
![]() |
![]() TMS32010 |
![]() Other |
![]() |
![]() Data Sheet |
![]() Negotiable |
|
||||||||||||
![]() |
![]() TMS320AV7110 |
![]() Other |
![]() |
![]() Data Sheet |
![]() Negotiable |
|
||||||||||||
![]() |
![]() TMS320BC51PQ100 |
![]() Texas Instruments |
![]() Digital Signal Processors & Controllers (DSP, DSC) TMS320C51PQ - 132QFP - 100MHZ/BOOT CODE |
![]() Data Sheet |
![]() Negotiable |
|
||||||||||||
(China (Mainland))










